-
چرخ های ریلی فولادی
-
ست چرخ راه آهن
-
چرخ های ریلی قطار
-
چرخ های آلیاژی آلومینیومی
-
قطعات یدکی راه آهن
-
گیره ریل الاستیک
-
وسایل نقلیه راه آهن
-
محور چرخ ریلی
-
ریل ریل فولادی
-
بشقاب ماهی راه آهن
-
لاستیک راه آهن
-
قطعات آهنگری دقیق
-
قطعات ریخته گری سرمایه گذاری
-
بست های ریل راه آهن
-
ماشین های ریل راه آهن
-
تجهیزات اندازه گیری مسیر ریلی
لاستیک ریلی DF Locomotive J307 قطر 1060 میلی متر

برای نمونه ها و کوپن های رایگان با من تماس بگیرید.
WhatsApp:0086 18588475571
ویچت: 0086 18588475571
اسکایپ: sales10@aixton.com
اگر شما هر گونه نگرانی دارید، ما 24 ساعت کمک آنلاین ارائه می دهیم.
xاستاندارد | GB، TB، UIC، EN، AAR | قطر | قطعات حلقه نورد 100-1450 میلی متر |
---|---|---|---|
کاربرد | لوکوموتیو، واگن و مربی | Model NO. مدل شماره UIC Production تولید UIC | آهنگری، ریخته گری، نورد گرم |
مواد | ER6,ER7,ER8,ER9,R7T,R8T,R9T,CL60 | بعد، ابعاد، اندازه | طراحی مشتری |
برجسته کردن | لاستیک ریلی J307,لاستیک ریلی دی اف لوکوموتیو |
لاستیک ریلی J307 برای لوکوموتیو با قطر 1060 میلی متر لکوموتیو DF
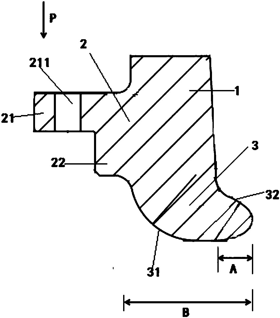
Kingrail استفاده شده از یک تایر خودروی ریلی سبک وزن با استحکام بالا و فرآیند تولید آن استفاده می شود و مربوط به زمینه فنی آماده سازی آلیاژ است.لاستیک شامل یک لاستیک بیرونی است و یک قسمت میانی از سطح داخلی دیواره جانبی لاستیک بیرونی به طور یکپارچه متصل و با یک صندلی گیره ثابت شده است و صندلی گیره شامل یک میز گیره است که با لاستیک بیرونی هم محور است و یک حلقه نگهدارنده ای که به طور یکپارچه متصل و در قسمت بیرونی سطح پایینی میز گیره ثابت شده است.سطح انتهایی میز گیره به طور مساوی با تعدادی سوراخ از طریق رزوه توزیع شده است.سطح انتهایی لاستیک بیرونی به طور یکپارچه متصل شده و با یک حلقه آج ثابت شده است.این یک سطح حلقوی است که به طور کامل با سطح زیرین لاستیک بیرونی همپوشانی دارد، قسمت داخلی سطح حلقوی به صورت عمودی به سمت بیرون خم می شود تا یک آج قوسی شکل به سمت پایین و بیرون کشیده شود و لبه بیرونی سطح حلقوی خم شده است. به صورت عمودی به سمت بیرون برای تشکیل قسمت پایین.سطح قوس خارجی که انتهای آن با لبه بیرونی آج قوس شکل منطبق است.آج لاستیک این اختراع به صورت یک سطح شیبدار 5 درجه ساخته شده است که می تواند کیفیت چرخ را کاهش دهد، عبور منحنی را تسهیل کرده و سایش آج را یکنواخت تر کند.مرکز ثقل وسیله نقلیه، جرم چرخ را کاهش می دهد و انعطاف پذیری چرخ مسیر را برای ورود به مسیر بهبود می بخشد.
یک ابزار گیره برای پردازش تایر و روشی برای بستن و قرار دادن، که مشخصه آن این است که شامل یک صفحه پایه ابزار و یک پد مرجع است که روی آن برای حمایت از لاستیک تنظیم شده است، و همچنین دارای یک چرخ موقعیت یابی است که در امتداد توزیع شده است. سطح دایره ای داخلی تایر.بلوک موقعیت یابی دقیق حلقه ها، ابزار بستن همچنین شامل یک مکانیسم گیره برای فشرده سازی حلقه ها از بالا برای تحقق موقعیت محوری حلقه ها است.این اختراع دارای مزایای ساختار ساده و معقول، درجه اتوماسیون بالا، موقعیت یابی دقیق و پایدار است و می تواند راندمان کار را تا حد زیادی بهبود بخشد، شدت کار را کاهش دهد و چشم انداز کاربردی خوبی دارد.
لاستیک ریلی J307 برای لوکوموتیو با قطر 1060 میلی متر لکوموتیو DF
حمل و نقل لاستیک های KINGRAIL آسان است، زیرا نوعی بسته بندی صفحه فشار لاستیک چرخ است که شامل یک سیلندر بیرونی تایر و حداقل سه مجموعه بست می باشد.خارج از رینگ چرخ، سیلندر بیرونی رینگ شامل چندین لایه قرارگیری رینگ است.هر گروه از بست ها ساختار و مشخصات یکسانی دارند و بست ها شامل دو اسپیسر، دو پیچ بلند دو سر و چهار مهره هستند که دو اسپیسر به ترتیب در انتهای بالایی و انتهای پایینی سیلندر بیرونی تایر قرار گرفته اند.روی بلوک اسپیسر دو سوراخ وجود دارد.میله پیچ نزدیک به دایره داخلی سیلندر بیرونی لاستیک و پیچ دو سر دیگر نزدیک به دایره بیرونی سیلندر بیرونی لاستیک تنظیم می شود.بسته بندی نوع صفحه پرس رینگ چرخ پیشنهاد شده توسط مدل کاربردی دارای مزایای ساختار ساده، پردازش و ساخت راحت و راحتی برای حمل و نقل و ذخیره سازی رینگ چرخ است.
لاستیک ریلی J307 برای لوکوموتیو با قطر 1060 میلی متر لکوموتیو DF
کد محصول | J307 (U) |
قطر بیرونی تایر | 1060 میلی متر |
قطر داخلی لاستیک | 886 میلی متر |
ارتفاع رینگ | 146 میلی متر |
ارتفاع دنده | 7 |
استاندارد اجرایی | TB/T 1400.2-2018 |
بافت مواد | LG61 |
بار ناخالص ریل روی محور | 26 تن |
سرعت | 200 کیلومتر در ساعت |
هدف | لاستیک لکوموتیو راه آهن |
تولید طبق مشخصات مشتری لاستیک های ریلی J307 برای لوکوموتیو با قطر 1060 میلی متر لکوموتیو DF
قطعات یدکی برای چرخ های انعطاف پذیر، مرکز چرخ + لاستیک + قطعات لاستیکی
سفارشات کوچک و بزرگ پذیرفته میشود
خوش آمدید به تماس برای جزئیات بیشتر